



|
型號
|
分度號
|
測溫范圍℃
|
精度等級
|
允許偏差
|
|
HD-WZP
|
Pt100
|
-200~+500
|
A級
|
±(0.15+0.002|t|)
|
|
HD-WZC
|
Cu50
|
|
B級
|
±(0.30+0.005|t|)
|
|
|
Cu100
|
-50~+100
|
-
|
±(0.30+0.006|t|)
|
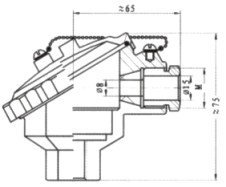
![]() 防噴式 |
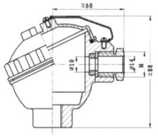
![]() 防水式 |
|
W
|
溫度儀表
|
||||||||
|
|
|
||||||||
|
|
| | | | | | | | | | | | | | | | | | | | | | | | | | | | | | | | |
Z
|
熱電阻
|
|||||||
|
|
|
||||||||
|
|
| | | | | | | | | | | | | | | | | | | | | | | | | | | | | | |
感溫元件材料 分度號
|
||||||||
|
P
C |
鉑 Pt100
銅 Cu50 |
||||||||
|
|
| | | | | | | | | | | | | | | | | | | | | | | | | | | |
鉑電阻元件
|
||||||||
|
無
2 |
單支
雙支 |
||||||||
|
|
| | | | | | | | | | | | | | | | | | | | | | | |
|
安裝固定形式
|
|||||||
|
1
2 3 4 5 6 |
無固定裝置
固定螺紋 活動法蘭 固定法蘭 活絡管接頭式 固定螺紋錐形式 |
||||||||
|
|
| | | | | | | | | | | | | | | |
接線盒形式
|
||||||||
|
2
3 |
防噴式
防水式 |
||||||||
|
|
| | | | | | | | | | | |
保護管直徑
|
||||||||
|
0
1 |
Φ16
Φ12 |
||||||||
|
|
| | | | | | | | |
工作端形式
|
||||||||
|
G
|
變截面
|
||||||||
|
| | | | | | | |
|
||||||||
|
HD-W
|
Z
|
P
|
2
|
——
|
2
|
2
|
0
|
G
|
典型型號示例
|
|
序號
|
形式
|
保護管材質
|
公稱壓力
|
熱響應時間
|
備注
|
|
1
|
無固定
|
1Cr18Ni9Ti
|
常壓
|
<90S
|
保護管外徑為Φ16、Φ12兩種具體要求雙方協商而定
|
|
2
|
固定螺紋
|
≤10MPa
|
|||
|
3
|
活動法蘭
|
常壓
|
|||
|
4
|
固定法蘭
|
≤2.5MPa
|
|||
|
5
|
活絡管接頭式
|
常壓
|
|||
|
6
|
固定螺紋錐形式
|
≤30MPa
|
|||
|
7
|
直形管接頭式
|
常壓
|
|||
|
8
|
固定螺紋管接頭式
|
||||
|
9
|
活動螺紋管接頭式
|

|
材質
|
使用溫度
|
特點及用途
|
|
1Cr18Ni9Ti
|
-200~800
|
具有高溫耐蝕性,通常作為一般熱鋼使用
|
|
304
|
-200~800
|
低碳含量,具有良好耐晶間腐蝕性,通常作為一般耐熱鋼使用
|
|
316
|
-200~750
|
低碳含量,具有良好耐晶間腐蝕性,作為耐腐蝕鋼使用
|
|
316L
|
-200~750
|
超低碳含量,具有良好耐晶間腐蝕性,作為耐腐蝕鋼使用
|
|
310S
|
-200~1000
|
具有高溫抗氧化性,耐腐蝕型通常作為熱鋼使用
|
|
GH3030
|
0~1100
|
鎳基高溫合金鋼,具有優(yōu)良抗氧化性,耐腐蝕型,通常作為耐熱鋼使用
|
手 機:13337963090
固定電話:0517-86500336 86500226
郵 箱:jshdyb@163.com
公司地址:江蘇省金湖縣工業(yè)園區(qū)
ICP備案號:蘇ICP備10202569號-9